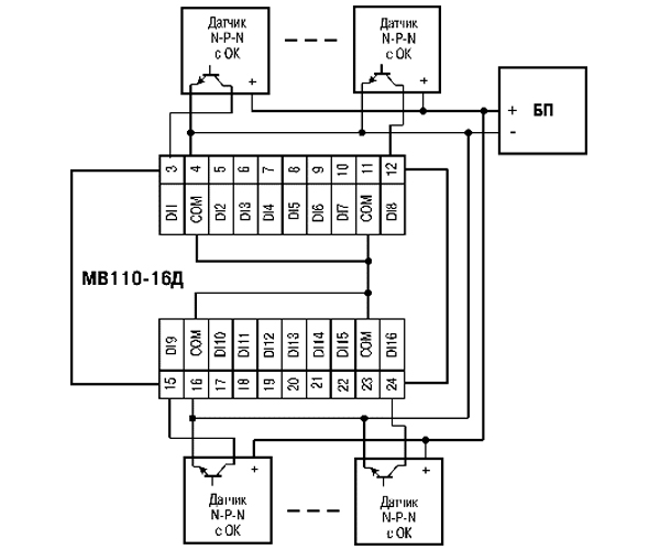
Модули предназначены для сбора данных со встроенных дискретных входов и передачи их в сеть RS-485.
|
Коммуникационные возможности |
|
|
Интерфейс |
RS-485 |
|
Поддерживаемые протоколы |
Modbus RTU Modbus ASCII ОВЕН DCON |
|
Скорость обмена по RS-485 |
2400…115200 бит/с |
Особенности
- Встроенные входы могут работать в режиме счетчика импульсов частотой до 1 кГц
- Автоматическое определение протокола (только для МВ110-8ДФ)
- Съемные клеммники с невыпадающими винтами
- Универсальное питание (=24 В или ~230 В)
- Обновление встроенного программного обеспечения по RS-485
- Поддержка облачного сервиса OwenCloud (при использовании сетевого шлюза ПМ210)
Конфигурирование
Конфигурирование модулей Мx110 осуществляется на ПК через адаптер интерфейса RS-485/RS-232 или RS-485/USB (например, ОВЕН АСЗ-М или АС4, соответственно) с помощью программы «Конфигуратор М110», входящей в комплект поставки.
Технические характеристики
|
Модификация |
МВ110-224.16Д |
|
|
|
|
Входы |
|
|
Количество входов |
16 DI |
|
Типы поддерживаемых сигналов |
|
|
Характеристики дискретных входов (DI) |
|
|
Гальваническая развязка входов |
– |
|
Электрическая прочность изоляции |
– |
|
Макс. частота входного сигнала |
1 кГц |
|
Мин. длительность входного сигнала |
0,5 мс (скважность 2 для частоты 1 кГц) |
|
Напряжение питания входов (внешний источник) |
24 ±3 В для транзисторных ключей Для «сухих контактов» питание не требуется! |
|
Макс. входной ток |
не более 7 мА |
|
Суммарное сопротивление внешнего контакта и линии подключения |
не более 100 Ом |
|
Ток «логической единицы» |
не менее 4 мА |
|
Ток «логического нуля» |
не более 0,7 мА |
|
Напряжение «логической единицы» |
– |
|
Напряжение «логического нуля» |
– |
|
Питание |
|
|
Тип питания |
универсальное ~230 В/=24 В |
|
Напряжение питания |
переменное: ~90…264 В (номинальное ~230 В) частотой 47…63 Гц или постоянное: =18…30 В (номинальное =24 В) |
|
Потребляемая мощность |
не более 6 ВА |
|
Конструктивное исполнение |
|
|
Габаритные размеры |
(63×110×75) ±1 мм |
|
Степень защиты |
IP20 |
|
Монтаж |
на DIN-рейку / на стену |
|
Условия эксплуатации |
|
|
Температура окружающего воздуха |
-10…+55 °С |
|
Относительная влажность воздуха (при +25 °С и ниже без конденсации влаги) |
не более 80 % |
|
Комплектность |
|
|
Модуль |
1 шт. |
|
Паспорт / Гарантийный талон |
1 экз. |
|
Руководство по эксплуатации |
1 экз. |
|
Компакт-диск с программным обеспечением |
1 шт. |
Доставка по городам Крыма: Симферополь, Севастополь, Феодосия, Ялта, Алушта, Евпатория, Саки, Керчь, Армянск, Джанкой, Бахчисарай, Красноперекопск, Красногвардейское, Советское, Первомайское, Кировское и др. городам России

